创新设计,助力成长

礼堂椅

1208A

产品介绍

产品尺寸:



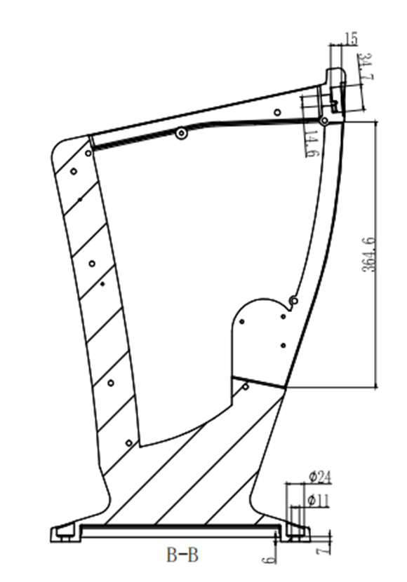
铝合金站脚外观及尺寸 :

1.铸造过程不得有较大气孔、疏松、夹渣等不良现象。

2.站脚成型后周边不能有毛刺、飞边。

3.表面精抛防氧化处理。

4.扶手和写字板向上倾斜6.5度,需提供站脚小样一个。



二、技术要求

1.座椅根据人体工程学原理及形态美学设计制造,背垫和座垫之弧度完全符合人体原理曲线,座高和座深合理,坐感舒适,座垫可自动回复,座椅外观简洁而美观。

2.座椅基本中心距为560±10mm,座包打开侧深470±10mm,写字板打开侧深800±10mm,椅高为1015±10mm,最小排距:900 mm。

3.在保证观众舒适度的前提下,背垫高不超过1015mm,增加椅背板的声反射面积,改善座椅的吸声;座底板根据需要打吸音孔,使座椅的吸声量在不同的上座率尽可能保持一致。

4.下藏式写字板:写字板链接铝头、托板采用优质铝合金材料经模具一体压铸成型。写字板面板采用ABS复合材料经模具一体注塑成型,写字板固定方式为机械原理高强度螺栓,使写字板链接部位越用越结实,不会出现松弛现象,尺寸规格:长度为381.2±2mm,宽度为261.2±2 mm,厚度为45mm;扶手和写字板向上倾斜6.5度保证书写自然状态,写字板打开回收时需带消音功能,不可有反弹力与噪音出现。

5.面料采用高档针织面料,并经防静电、防蛀处理,手感舒适,长时间使用无皱褶、断裂、起球、褪色现象。


6. 座椅泡绵均为聚氨酯冷发泡高回弹海绵,强度高,回弹性好,座海棉尺寸:长度为480±5mm,宽度为460±5mm,高度为150±5mm,海棉密度为50-55KG/M3,背海棉尺寸:长度为460±5mm,宽度为750±5mm,高度为140±5mm,海绵密度为45-50KG/M3。


7.铝合金站脚:采用优质铝合金材料,铝合金扶手宽≥50mm, 重≥2.9KG。扶手抛光面采取带弧面设计,以保证产品的满饱美观性。 

8.座椅扶手盖:为优质进口橡木实木,曲线造型,不变形、不开裂,扶手尺寸规格:尺寸规格:长度为355.4±2mm,宽度为60±2mm,高度为30±2mm 。


9.座五金骨架:采用高度强度优质碳素钢板冲压折弯焊接成形,同时增加5条直径2.5mmS形蛇簧,保证座椅的舒适度。

10.座包采用阻尼回复机构,两级缓冲先快后慢,使座包3秒内可回复到位,具备逃生消音功能,座包回复碰撞部位增加橡胶垫防撞降噪,使座包打开无噪音,回复缓慢无冲击性撞击。


11.座、背外板采用优质夹板经模具压弯成型。外型成弧型,美观大方,具有曲线美。背外板尺寸:长度为740±2mm,宽度为495±2mm,厚度为15mm。座外板尺寸:长度为440±2mm,宽度为425±2mm,厚度为12mm。

12.采用隐藏式压爆螺丝固定地面,特别设计塑料防尘盖,保证椅脚平滑美观的同时防止积尘,便于清洁。

拨打电话 复制微信